
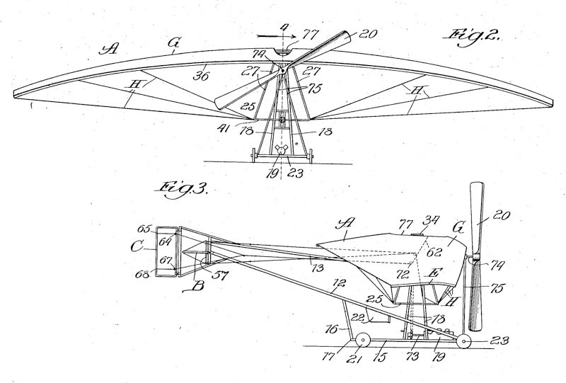
A shoulder-wing monoplane which John A. Warrick of Chicago applied a patent for in 1910 (granted in 1912), the intention being that it would “automatically maintain a proper equilibrium under all ordinary or normal conditions in flight”. This was achieved by a control system that, among other things, allowed the pilot to change the incidence of the somewhat parachute-like negative-dihedral wing. It’s not known if it was built.